Nova patente de Apple reconhece ao usuário por suas mãos
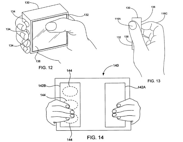
Apple adicionou uma nova patente a sua longa lista. Neste caso, se trataria de um dispositivo com sensores capacitivos com capacidade para reconhecer ao usuário pela forma em que este sustenta o mesmo. Uma vez detectado o usuário mediante dito sistema, o próprio dispositivo modifica a configuração e a ajusta às preferências do perfil do usuário.
O conceito pode chegar a ser interessante já que poderia permitir, por exemplo, guardar dois perfis diferentes sócios a duas formas de sujeitar o dispositivo, agilizando assim o alternar entre uma configuração ou outra. Por outro lado, a patente também parece sugerir a aparição de botões tácteis nas zonas de sujeição que, imaginamos, variariam para cada perfil. Por enquanto só é uma patente, terá que esperar a ver se chega a bom porto.



